2025/7/10 17:25:33
Invention disclosure
发明公开
1. Previous solution
a)own (e.g. indication of the drawing number, transmission of the drawing)
CN201377007Y
Air enters into a rectangular box and then goes upward into upper section of quenching system. Lastly the air transversally travels into screen cylinder 10 in order to cool filaments.
1. 以前的解决方案
a) 自己的(如图号的标示、图纸的传送)
CN201377007Y
空气进入一个矩形箱,然后向上进入冷却系统的上部。最后,空气横向进入网筒 10,以冷却长丝。

2. Shortcomings of previous solutions:
No precise determination of the applied pressure for a screen cylinder. No uniform outflow profile (rectangular profile) from the screen cylinder.
2. 以往解决方案的缺点:
无法精确确定网筒的外加压力。网筒没有均匀的流出轮廓(矩形轮廓)。
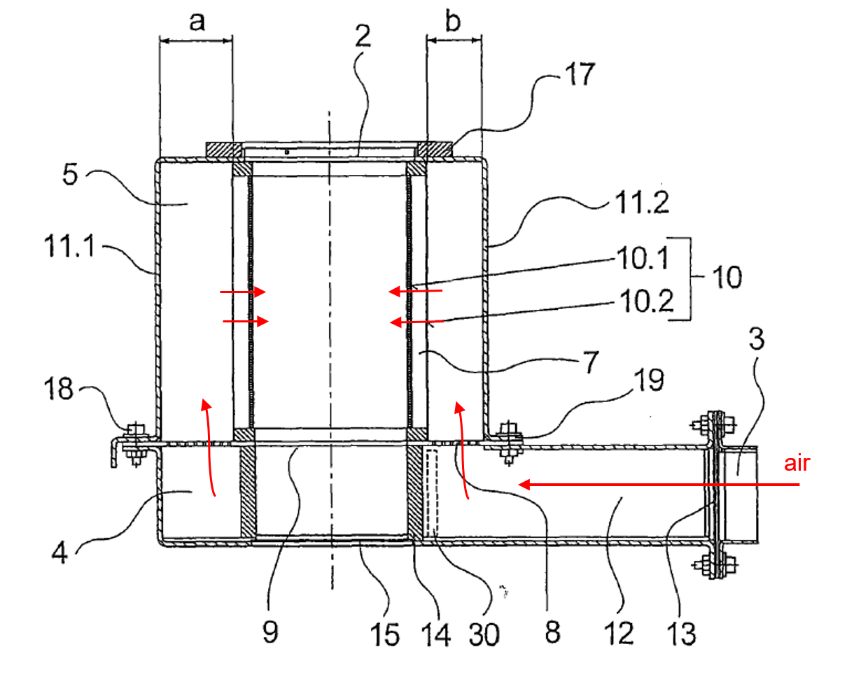
5a. Description of the invention
Each screen cylinder of the radial blowing system has its own connection, which enables the air (1) flow to the screen cylinders by means of a helix spiral.
The idea is to swirl the cooling air by a helix in a lower section.
Air enters into lower section of radial blowing system. The lower section is a lower chamber that is sandwiched between a 1st inner cylinder and a 1st outer cylinder. Both the 1st inner and the 1st outer cylinder are non-permeable. The helix is spiral-shaped and is arranged inside the lower chamber that creates swirling airflow in the lower chamber.
Between the lower section and upper section is an air-permeable plate disposed. Air flows upwards from the lower section to the upper section via the air-permeable plate.
The upper section is an upper chamber that is between a 2nd inner cylinder and a 2nd outer cylinder. The 2nd outer cylinder is non-permeable and the 2nd inner cylinder is permeable, so that the air in the upper chamber travels through the 2nd inner cylinder and cools the filament.
The inner and outer screen cylinders are state of the art. A new idea is the helical connection in the cooling air supply, which is intended to achieve a directed supply of cooling air to the screen cylinders.
The air is guided with support of the helical shaped panels. This omits turbulence and easy the exchange of air.
The coupling flange can be positioned eccentrical, improving the helical transfer of air, but it also can be positioned in a center position.
5a. 发明说明
径向吹风系统的每个网筒都有自己的连接装置,通过螺旋部件使空气(1)流向筛筒。
这样做的目的是使冷却空气在下部以螺旋方式旋转。
空气进入径向吹气系统的下部。下部是一个夹在第一内筒和第一外筒之间的下腔。第一内筒和第一外筒都是非渗透性的。螺旋部件呈螺旋状,布置在下腔内以形成漩涡气流。
在下部和上部之间有一块透气板。空气通过透气板从下部向上流动到上部。
上部是位于第二内筒和第二外筒之间的上腔。第二外筒是非透气的,第二内筒是透气的,因此上腔中的空气会穿过第二内筒并冷却长丝。
内筒和外筒都是现有技术。冷却空气供应中的螺旋连接是一个新思路,其目的是向筛筒定向供应冷却空气。
空气在螺旋形面板的支撑下被引导。这样就避免了紊流,便于空气交换。
耦合法兰可以偏心放置,以改善空气的螺旋输送,但也可以放置在中间位置(附图2)。


3. What are the advantages of the invention?
Helical vortex generated ensures a uniform flow into/out of the screen cylinder for cooling the filaments.
3. 本发明有哪些优点?
产生的螺旋漩涡可确保均匀地流入/流出第二内筒,以冷却长丝。






